吳奇隆居然申請了8件專利!其中7個「和生活息息相關」 其中一項出人意料:根本發明家

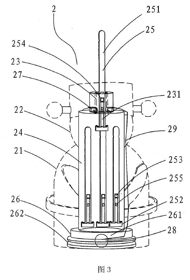
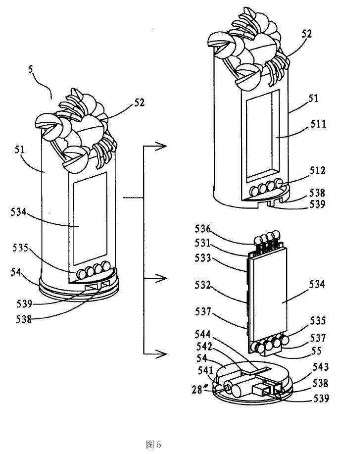
本實用新型公開一種抽籤造型的玩具娃娃,包含造型娃娃簽筒殼體、透光面罩、出簽通道、出簽口、置簽空間、簽棒、底座體、電源供應接觸片、電池及電源線;簽棒包含吉祥花色符號、簽棒卡榫、整流晶元組、LED發光二極體、電源接觸片;在整流晶元組電路中,加入運算公式與法則計算晶元單元及電子電路單元與顯示屏幕單元,在出簽通道加簽棒感測識別單元組件;透光面罩連接設於該造型娃娃簽筒殼體上,于吉祥人像或物像造型之外殼體與置簽筒設置出簽通道,於該置簽筒周圍設置有電源供應接觸單元提供LED發光二極體電源;底座體設置於造型娃娃簽筒殼體底部,包含電池槽、底蓋。
本實用新型可供使用者方便攜帶、裝飾供生活參考遊戲用。
Advertisements


吳奇隆在發光二極體元件及其製造方法上進行了七個專利申請,吳奇隆的8個專利足可以證明吳奇隆的勤奮,在大家認為一個明星身份就不愁吃不愁穿了,工作幾年的錢都夠吃一輩子的了。小編想也有很多明星也是這樣想的吧,但是吳奇隆的想法好像不同,他更想去證明自己不僅僅是一個明星,小編想這就是他為自己布局商業帝國的原因吧。再有就是吳奇隆是一個很熱愛發明創造的人,申請8項專利就足可以證明這件事了,一個不喜歡發明的人是不可能去申請專利的。對於既是明星又是投資人,還是發明家的吳奇隆你是什麼看的?
文章參考:搜狐